Sono trapelati on-line alcuni documenti provenienti dall’ufficio brevetti degli Stati Uniti e, stando alle immagini, si potrebbe trattare di una nuova console portatile targata Nintendo.
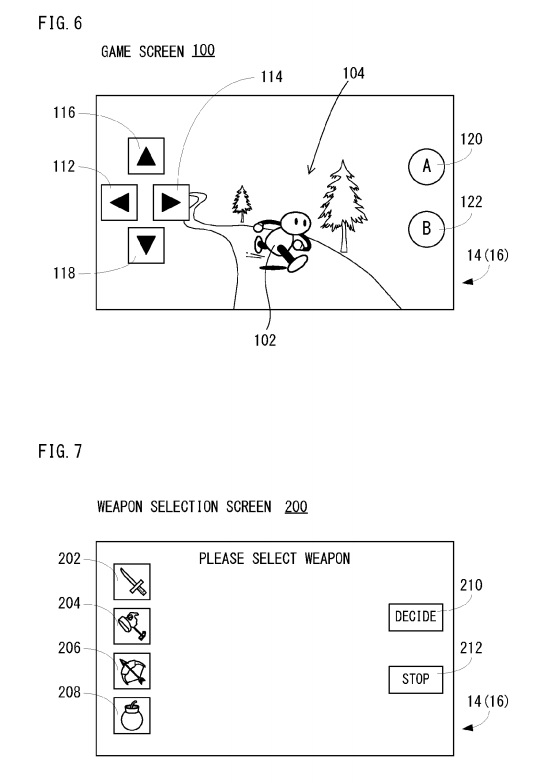
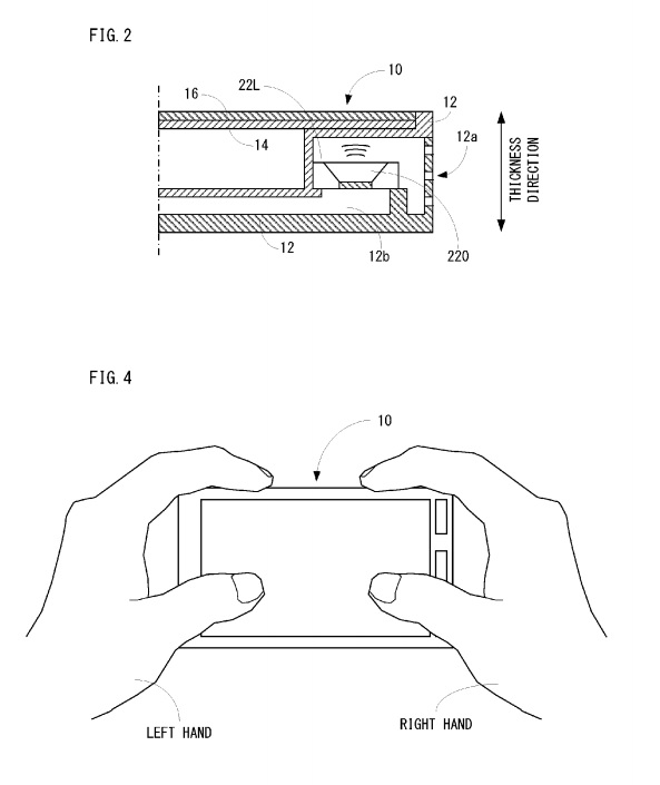
Come potete vedere dalle immagini sovrastanti, il dispositivo mostra un design abbastanza in linea con lo stile utilizzato da Nintendo ed è dotato di uno schermo touchscreen, i classici comandi ABXY sulla destra e un’analogico e una croce direzionale sulla sinistra.
Non sono ancora giunte conferme ufficiali da parte di Nintendo che, come ben sappiamo, è attualmente impegnata nello sviluppo della tanto attesa NX. Ogni congettura è lecita quindi, tanto che si potrebbe anche ipotizzare che, il dispositivo mostrato, possa tranquillamente essere una sorta di controller aggiuntivo per interfacciarsi proprio alla nuova console fissa.
(Fonte: USPTO)










