Dopo i rumor che volevano il Progetto NX di Nintendo come un sistema, una combinazione di console, ecco che è apparso un nuovo brevetto registrato dalla casa giapponese.
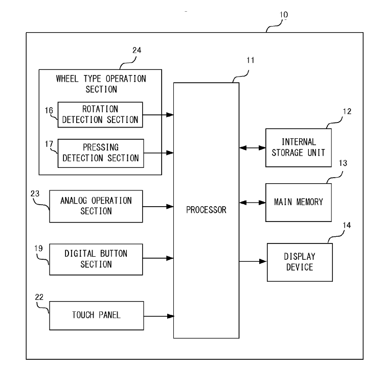
Il progetto riguarderebbe una console portatile, dotata di due stick e due grilletti che, sembra, potranno essere ruotati.
Non si sa se il brevetto in questione sia effettivamente la nuova console portatile di Nintendo, o il pad della nuova home console, nè se verrà effettivamente mai prodotta, il progetto comunque è visionabile qui.
Noi rimarremo in attesa di delucidazioni a riguardo.
(Fonte: NeoGAF )










