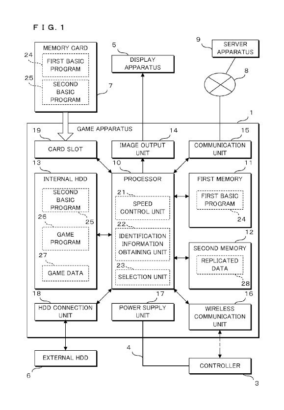
Stando a quanto pubblicato da un utente di NEOGaf, Nintendo avrebbe registrato il brevetto di un nuovo tipo di console di gioco, sprovvista di unità di disco ottico.
La cosa aveva fatto pensare in un primo momento ad una console decisamente improntata verso il digital delivery, cosa che non è comunque da escludere, ma sembra sia anche presente uno slot per delle schede del tutto simili a quelle per Nintendo 2DS e 3DS, dunque i giochi potrebbero essere contenuti in tali schede di memoria.
Non solo: trattandosi appunto di dispositivi già usati da Nintendo, non è esclusa una eventuale retrocompatibilità con le suddette console portatili della casa giapponese.
Da registrare inoltre la presenza di un controller dotato di un proprio schermo, feature già in uso con Wii U.
È bene ricordare che stiamo parlando di rumor ed indiscrezioni, quindi come si usa fare in questi casi prendete tutto con le pinze. In attesa di conferme ufficiali diteci cosa ne pensate di queste prime voci di corridoio. La vedreste bene una Nintendo NX digital only?
(Fonte: NEOGaf )







